PRAVA EGZOTIKA

Najluđa ideja iz Zuffenhausena u posljednjem desetljeću mogla bi vam se svidjeti: Porsche je patentirao W12 motor

Dokumentacija upućuje na mogućnost trokružnog turbopunjenja, što bi značilo čak tri turbopunjača ili kompresora

Bentley W12 motor, ilustracija

 Bentley
Dokumentacija upućuje na mogućnost trokružnog turbopunjenja, što bi značilo čak tri turbopunjača ili kompresora

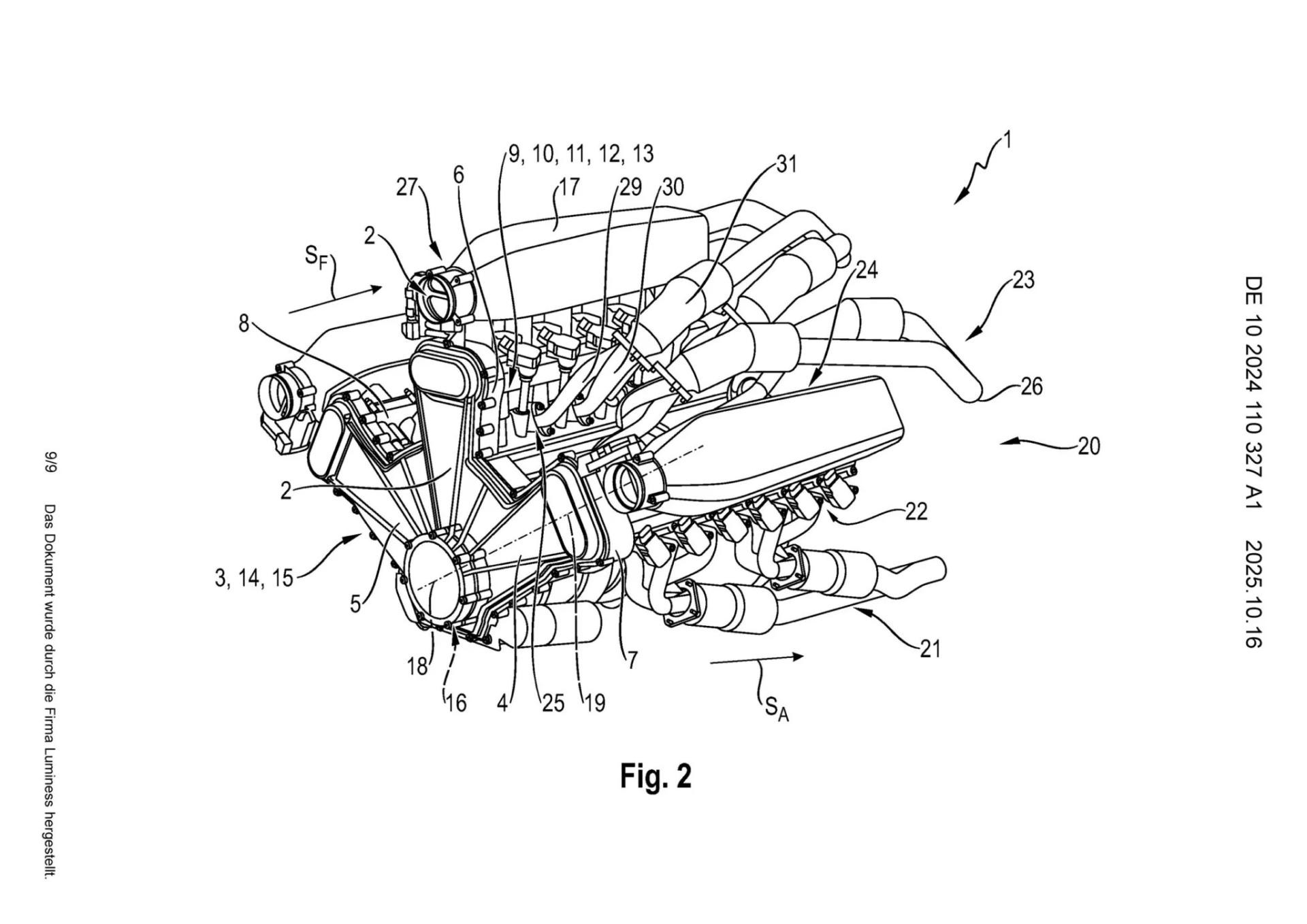
Za razliku od dosadašnjih W12 koncepata koji su zapravo kombinirali dva VR6 motora, Porscheov novi dizajn prikazuje pravi “W” raspored s tri zasebna reda cilindara. Svaka cilindarska glava ima vlastite usisne i ispušne kanale, a cjelokupni sustav zraka usmjeren je tako da omogućuje gotovo ravni, neprekinuti dotok zraka prema cilindrima, što znači manje gubitke trenja i kraće, učinkovitije usisne kanale.

image

Patent Porscheovog W12 motora

Porsche

Patent detaljno opisuje gornji zračni plenum, koji pokriva motor i omogućuje hlađenje zraka prije ulaska u usisne kanale, kao i "jasno odvajanje usisnog i ispušnog sustava". Prevedeno s tehničkog jezika: motor bi mogao disati slobodnije, trošiti manje i zadržati brutalnu snagu.

Najintrigantniji dio? Dokumentacija upućuje na mogućnost trokružnog turbopunjenja, što bi značilo čak tri turbopunjača ili kompresora, u konfiguraciji koja bi višestruko nadmašila stari 6.0 W12 iz Bentleya (740 KS i 1000 Nm). Time bi novi motor mogao postati najkompleksniji u povijesti Volkswagen grupe, ali i jedan od najmoćnijih.

image

Patent Porscheovog W12 motora

Porsche

Porsche pritom ne otkriva u kojem bi se modelu ovaj motor mogao koristiti. Iako bi se na prvi pogled činilo da je riječ o eksperimentalnom projektu, mogućnosti su intrigantne, budućih Bugattijevih hiperautomobila, preko limitiranih Porscheovih modela, pa sve do trkaćih automobila. Tvrtka napominje i da se isti koncept može primijeniti na motore s različitim brojem cilindara, što otvara prostor i za manje, hibridne izvedbe.

Hoće li ikada ući u serijsku proizvodnju teško je znati, ali jedno je sigurno. U doba elektrifikacije i downsizinga ovakva ideja od jednog ozbiljnog proizvođača zvuči gotovo "romantično".

Želite li dopuniti temu ili prijaviti pogrešku u tekstu?
27. studeni 2025 01:30